No contexto da manufatura e da engenharia modernas, poucas questões são tão relevantes quanto: “quem foi o responsável pela criação da impressora 3D?”. A resposta recai sobre Charles (“Chuck”) W. Hull, o visionário que não só idealizou a tecnologia, como também fundou a indústria que continua a transformar a maneira como o mundo fabrica tudo, desde componentes de aeronaves até implantes cirúrgicos.
Embora muitos relacionem a impressão 3D com avanços tecnológicos recentes, suas origens remontam ao início da década de 1980. Chuck Hull desenvolveu a impressão 3D — especificamente por meio de um método chamado Estereolitografia (SLA) — com o objetivo de solucionar um desafio persistente na manufatura: a lentidão do processo de prototipagem. Sua criação não apenas acelerou o desenvolvimento de novos produtos, mas também deu origem a uma categoria totalmente nova de produção, atualmente conhecida como manufatura aditiva.
Para compreender plenamente a importância dessa invenção, é necessário analisar a cronologia detalhada dos acontecimentos, as datas de registro das patentes que protegeram a tecnologia e a evolução do trabalho de Hull, que foi do desenvolvimento de um simples “copo para lavagem ocular” à bioimpressão de pulmões humanos.
A Faísca da Invenção: 1983 e a Primeira Peça Impressa em 3D
Antes do surgimento da impressão 3D, os engenheiros de projeto enfrentavam um grande obstáculo. Criar um protótipo de uma peça de plástico era um processo trabalhoso, que exigia ferramentas específicas. Era necessário desenvolver moldes de injeção, cuja fabricação frequentemente levava de seis a oito semanas. Se o design inicial apresentasse falhas — algo comum em pesquisa e desenvolvimento — a equipe precisava ajustar as ferramentas ou recomeçar do zero, estendendo o ciclo de desenvolvimento para vários meses.
Em 1983, Chuck Hull trabalhava na UVP, Inc. (atual Analytik Jena), uma empresa fabricante de fontes de luz ultravioleta. Seu trabalho envolvia o uso da luz UV para solidificar diferentes materiais. Ao observar como esses materiais endureciam quando expostos à luz, Hull teve a ideia de que, se fosse possível sobrepor finas camadas de plástico e curá-las com luz UV, seria possível criar objetos tridimensionais.
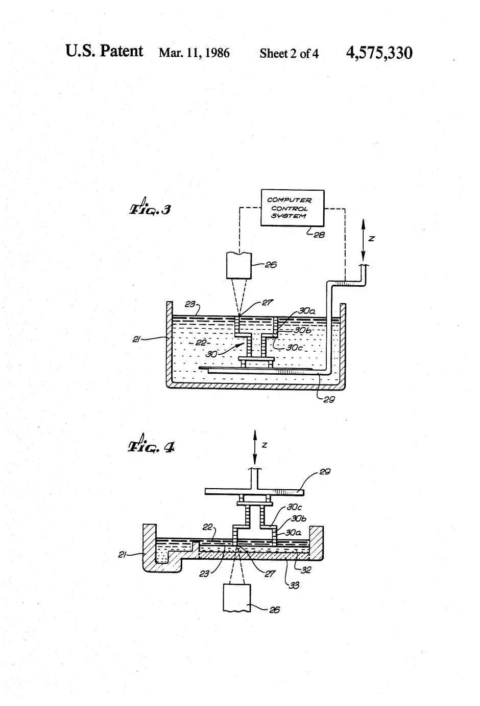
Em 10 de novembro de 1983, Hull demonstrou com sucesso esse conceito. Ele utilizou seu novo processo, Estereolitografia, para produzir a primeira peça impressa em 3D: um simples copo para lavagem ocular. Esse pequeno copo azul provou que informações digitais poderiam ser transformadas em objetos físicos em poucas horas, em vez de semanas, inaugurando efetivamente o conceito de prototipagem rápida.
A primeira peça impressa em 3D.
A Patente que Iniciou uma Indústria: 1984
Para aqueles que perguntam “Em que ano Charles Hull registrou uma patente?”, a data essencial é 1984.
Após alcançar sucesso em seu laboratório, Hull rapidamente assegurou os direitos de propriedade intelectual de sua criação. Ele registrou em 1984 a patente do “Aparelho de Estereolitografia” (SLA), um marco histórico que documentou oficialmente a tecnologia que viria a fundamentar a indústria de manufatura aditiva.
O funcionamento da estereolitografia envolve um recipiente cheio de resina fotopolimérica líquida. Um feixe de laser UV, controlado por computador, desenha a seção transversal da peça sobre a superfície do líquido, endurecendo-a. Em seguida, a plataforma desce, e o processo se repete, construindo o objeto camada por camada. A patente não descrevia apenas uma máquina, mas uma transformação radical na lógica de fabricação: adicionar material somente onde ele é necessário, em vez de removê-lo de um bloco.
Fundação e Comercialização da 3D Systems (1986–1988)
Em 1986, Chuck Hull cofundou a 3D Systems com o objetivo de levar sua tecnologia ao mercado. Nesse mesmo ano, a empresa se tornou a primeira organização de impressão 3D do mundo. Essa iniciativa transformou a estereolitografia de um conceito com patente pendente em uma solução comercialmente viável para engenheiros.
O setor teve seu primeiro equipamento lançado em 1987, quando a 3D Systems disponibilizou a impressora de estereolitografia SLA-1 — a primeira impressora 3D comercial do mercado. Os primeiros usuários eram, principalmente, empresas da indústria automotiva, que viam grande potencial na “prototipagem rápida” para acelerar o desenvolvimento de veículos. Nos primeiros cinco anos da companhia, essa aplicação de prototipagem rápida permaneceu como o principal uso da tecnologia.
A ASME (American Society of Mechanical Engineers) reconheceu a SLA-1 como um Marco Histórico da Engenharia Mecânica, destacando seu papel transformador na manufatura global. Hoje, a máquina original está em exibição no National Inventors Hall of Fame Museum, em Alexandria, Virgínia.
Reconhecimento de um Legado
A importância das contribuições de Chuck Hull começou a receber amplo reconhecimento institucional durante esse período. Em 2014, ele foi incluído no Hall da Fama Nacional dos Inventores do Escritório de Patentes e Marcas dos Estados Unidos. No mesmo ano, recebeu o Prêmio Inventor Europeu na categoria de países não europeus, em reconhecimento ao seu impacto transformador na sociedade.
O Escritório Europeu de Patentes (EPO) destacou que Hull havia se juntado a figuras históricas como Henry Ford e Steve Jobs, indivíduos cujo trabalho deixou uma marca duradoura na humanidade. Até então, Hull tinha um extenso portfólio de invenções: era o inventor registrado em 85 patentes dos Estados Unidos, além de diversas patentes internacionais nas áreas de óptica iônica e impressão 3D.
Exposição de Chuck Hulls no Hall da Fama dos Inventores Nacionais
Inovações em Bioimpressão e Homenagens (2015–Presente)
Atualmente, Chuck Hull segue impulsionando a inovação. Longe de se aposentar, ele ocupa o cargo de Diretor de Tecnologia da 3D Systems. Seu foco se deslocou para a próxima fronteira da manufatura aditiva: a bioimpressão.
Hull lidera uma equipe em colaboração com a United Therapeutics em um programa de desenvolvimento conjunto. O objetivo é ambicioso: criar um suprimento ilimitado de pulmões humanos que não exijam imunossupressão. Essa tecnologia busca permitir que pacientes com doenças pulmonares em estágio terminal tenham acesso a órgãos compatíveis e transplantáveis.
Leia a reflexão de Chuck Hull sobre a Cúpula de Lake Nona.
Chuck Hull com o ex-presidente Joe Biden.
Os reconhecimentos pela trajetória de Chuck Hull continuaram a se acumular:
2016: Hull recebeu o Prêmio de Liderança em Manufatura por sua Trajetória Profissional.
2023: Em 24 de outubro, o presidente Joe Biden concedeu a Hull a Medalha Nacional de Tecnologia e Inovação (NMTI) na Casa Branca, a mais alta honraria dos Estados Unidos por conquistas tecnológicas.
2025: Em fevereiro, Hull foi eleito para a Academia Nacional de Engenharia (NAE), uma das distinções profissionais mais importantes para engenheiros.
O Impacto Duradouro de Chuck Hull
Quando questionado sobre sua contribuição, Hull mantém-se humilde: “Eu deveria ter me aposentado há muito tempo, mas não me aposentei”, afirmou, ressaltando que “a impressão 3D é apenas mais uma ferramenta, mas é uma ferramenta muito poderosa que pode criar qualquer coisa.”
Para os profissionais que utilizam impressoras 3D hoje — em aplicações que vão de pás de turbinas aeroespaciais a alinhadores dentários e prototipagem automotiva — a tecnologia remonta à faísca de inspiração de 1983. Hull não apenas inventou a impressão 3D construindo uma máquina, mas também reimaginou a física da manufatura.
Desde o registro da patente original da SLA em 1984 até o pioneirismo em bioimpressão na década de 2020, sua carreira demonstra que o conceito de “manufatura” é fluido. O que começou como uma técnica para curar plásticos com luz UV evoluiu para um mecanismo capaz de imprimir tecido humano, provando que a indústria que ele fundou ainda está apenas explorando o potencial de sua inovação.
-
No artigo sobre o Lake Nona Impact Forum, Chuck Hull, da 3D Systems, compartilha suas reflexões sobre as ideias, parcerias e tecnologias que estão definindo a próxima era da inovação na área da saúde.